شريحة تعريف
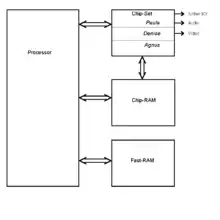
شريحة تعريف (بالإنجليزية: Chipset) وهي عبارة عن مجموعة من المكونات الإلكترونية على الدوائر الإكترونية المتكاملة هذه الدوائر تتحكم وتدير تدفق البيانات ما بين المعالج والذاكرة والملحقات وعادة ما توجد على اللوحة الأم، يتم تصميم الرقائق عادة للعمل مع عائلة محددة من المعالجات.[2]

وهي شرائح تتكون من مجموعة دارات متكاملة، أو رقائق، تهدف إلى العمل معا، والهدف من صنعها تدميج عدة منتجات في منتج واحد.
الحواسيب
المصطلح شرائح الشائع في الحوسبة يشير إلى مجموعة من الرقائق المتخصصة على اللوحة الأم للحاسوب أو على البطاقات متعددة الإتساع، أما في الحواسيب الشخصية فإن أول مجموعة شرائح ظهرت في حواسيب آي بي إم أيه تي (IBM PC AT) سنة 1984 وكانت تكنولوجيا جديدة تسمى الشرائح ذات التكنولوجيا المحسنة أيه تي (New Enhanced AT أو اختصارا NEAT Chipset) وطورتها شركة شيبسيت آند تكنولوجي ( Chips and Technologies C&T)، لتتلائم مع وحدة المعالجة المركزية الخاصة بإنتل 80286.


واستنادا لمعالجات إنتل من نوع بانتيوم فمصطلح مجموعة شرائح كثيرا ما يشار إلى أنه زوج من الرقائق في اللوحة الأم الجسر الجنوبي(southbridge) والجسر الشمالي (northbridge).
مراجع
-
"مرجع اللوحة الأم أنتل (D945GCPE Desktop Board)". مؤرشف من الأصل في 13 أكتوبر 2018. الوسيط
|CitationClass=تم تجاهله (مساعدة) - "AMD Ushers in Era of Cinematic Computing with the AMD Athlon 64 FX Processor". 2003-09-23. مؤرشف من الأصل في 6 أبريل 2019. اطلع عليه بتاريخ 04 يوليو 2006. الوسيط
|CitationClass=تم تجاهله (مساعدة)
- بوابة علم الحاسوب
- بوابة تقنية المعلومات