منسج دوبي
منسج دوبي: (بالإنجليزية: Dobby Loom) هو آلة نسيج تستطيع التحكم بخيوط السدى بآلية تسمى الدوبي. وأول ظهور لهذه الآلة كان في عام 1843م، وبعد أربعين عامًا تقريبًا قام جوزيف ماري جاكارد باختراع آلية الجاكارد.

يعد هذا النظام أكثر تعقيدًا وغاليًا نسبيًا وبطيئًا مقارنة بنظام منسج الكامات إلا أنها أسرع من منسج الجاكارد .[1] تكون هذه الأجهزة متوضعة خارج آلة النسيج لذلك يكون الوصول إليها سهلاً نسبياً. وهومصمم للتحكم بـ 32 درأة وعدد تكرارات اللحمة شبه لانهائي ويصل إلى 12800 خيط [1]

ويوجد وحدتين منفصلتين في آلية الدوبي وهما:
- وحدة القدرة: وتسمح بتحريك الدرأ عن طريق تحويل الحركة الدورانية لمحور الدوبي إلى حركة ترددية (رفع وخفض).
- وحدة الفصل والوصل (وحدة الاختيار): تسمح بربط أو فصل الدرأ عن قسم القدرة فتحرك الدرأة وتبقيها في مكانها حسب التركيب النسيجي المطلوب والمخزن في ذاكرة جهاز الاختيار. يمكن أن تكون في الذاكرة الميكانيكية (جنزير مسنن أو كامة أو كرتون مثقب) أو ذاكرة إلكترونية.
أنواع نظام الدوبي
تصنيفات الدوبي
تصنف أنظمة الدوبي حسب مبدأ التشغيل:
- دوبي دوار (بالإنجليزية: rotary dobbies).
- دوبي ذو السكاكين (بالإنجليزية: Hatterslay dobbies).
وتصنف حسب طريقة التأثير على الدرأ:
- دوبي إيجابي.
- دوبي سلبي.
وتصنف حسب طريقة تخزين الحياكات:
- ميكانيكياً بواسطة كرتون مثقب.
- إلكترونياً بواسطة وصل الدوبي بالحاسب.
تصنيف الدوبي حسب وضعيات تثبيته على النول:
- الوضعية العلوية للدوبي
- الوضعية السفلية للدوبي
تصنيف الدوبي حسب مبدأ التشغيل
دوبي دوار (بالإنجليزية: rotary dobbies)
تسمح أنظمة الدوبي الموجبة الدوارة بإزالة الحركة الترددية للسكاكين عن طريق استخدام كامة لامركزية. يقوم محور الدوبي بتدوير هذه الكامة عن طريق واصل ميكانيكي وظيفته وصل أو فصل الكامة عن محور الدوبي تبعًا للمعلومات الواردة من جهاز قراءة الذاكرة.
يبين الشكل السفلي مبدأ عمل دوبي موجب دوار: الواصل الميكانيكي مركب على الكامة اللامركزية وهو يتمتع بحرية الحركة حول محوره. يقوم نابض الإرجاع بشد الواصل محاولاً تعشيقه مع الأخدود المشكل في القرص المثقب الموصول بشكل جاسئ مع محور الدوبي. يسمح التعشيق بنقل الحركة من محور الدوبي إلى الواصل ومنه إلى الكامة اللامركزية. وظيفة ذراعا الاختيار (ذراعا التأرجح) هي إبعاد اللسان (الواصل الميكانيكي) عن الأخدود وبالتالي فصل الحركة عن الكامة اللامركزية. يجب ألا ننسى بأن محور الدوبي يدور بنصف سرعة دوران محور محرك آلة النسيج ولذلك فإن دوران محور الدوبي نصف دورة يكافئ رفع أو خفض درأة خلال دورة نسيجية واحدة.[1]
يقوم المغناطيس وبمساعدة الكامة اللامركزية بالتأثير على أذرع الاختيار لتغيير موضعها بغية فصل أو وصل الحركة عن الواصل الميكانيكي. يأخذ المغناطيس أوامره من الذاكرة الإلكترونية للدوبي.

دوبي ذو السكاكين (بالإنجليزية: Hatterslay dobbies)

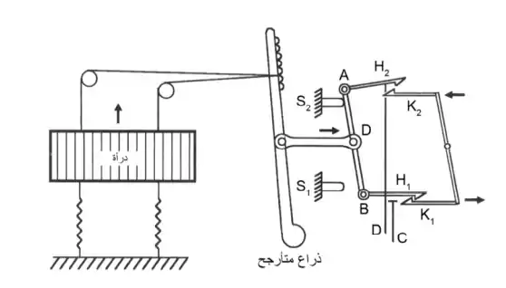
يبين الشكل الجانبي مبدأ العمل من أجل التحكم بدرأة واحدة. السكينتان K1، K2المتصلتان بمحور الدوبي، ويستمد هذا الأخير حركته من محور محرك آلة النسيج عن طريق مخفض سرعة بنسبة 2\1 تتحرك هاتان السكينتان حركة ترددية (ذهاب وإياب). يمكن أن توصل كل درأة إلى السكينتين عن طريق الذراعين الظفريين H1، H2 يقوم الذراعان C،D بالتحكم بالذراعين الظفريين تبعاً للمعلومات الواردة من جهاز قراءة ذاكرة الدوبي. وظيفة المسندين S1،S2 هي تحديد حركة نهايات الذراع AB.
يؤدي خفض الذراع C إلى خفض الذراع الظفري H1 وتعاشقه مع السكينة k1 بينما تؤدي حركة السكينة نحو اليمين إلى جر الذراع الظفري وتباعد النهاية B للذراع AB عن مسندها S1، ودوران الذراع AB حول نقطة التماس بين النهاية A والمسند S2. يتم نقل حركة الذراع AB إلى الذراع المتأرجح بواسطة الوصلة D يسمح الذراع المتأرجح بتضخيم الحركة وتحريك درأة واحدة. نابض الإرجاع الذي يقوم بإعادة الدرأة إلى وضعها الأصلي يقوم أيضاً بالمحافظة على تماس نهاية واحدة على الأقل للذراع مع أحد المسندين S1،S2.[1]
تصنيف الدوبي حسب طريقة التأثير على الدرأ

الدوبي الايجابي
يقوم بتحريك الدرأ في كلا الاتجاهين حيث تقوم بسحب الدرأ وإعادته إلى وضعه الأصلي، لذلك لا توجد حاجة إلى استخدام نوابض إرجاع.
الدوبي السلبي
يقوم بسحب الدرأة فقط، أما عودة الدرأة إلى وضعها الأصلي فيتم عن طريق نابض إرجاع (نابض بسيط أو مجموعة نوابض) أو عن طريق ثقل. يقوم هذا النوع من الدوبي إما برفع أو خفض الدرأ.
يبين الشكل الجانبي دوبي سلبي وتم وصل الدوبي بالدرأ عن طريق كبل يقوم بسحب الدرأ ولا يمكن دفع الدرأ لأن الكبل يقوم بالسحب فقط، حيث تعود الدرأة بفعل وزنها أو بوجود نوابض إرجاع إلى وضعها الأصلي.
قديماً كانت تُستخدم أثقال عوضاً عن النوابض ولكن تم الاستغناء عن هذه الطريقة لأن أعظم تسارع يتم الحصول عليه هو تسارع الجاذبية الأرضية.[1]
تصنيف الدوبي حسب وضعيات تثبيته على النول
الوضعية العلوية للدوبي
في هذه الوضعية يكون الدوبي فوق خيوط السدى مما يجعل صيانة الدوبي أسهل. ومن مساوئ هذه الوضعية سقوط قطرات من زيت الدوبي على القماش مما يؤدي لحدوث البقعالتي تحتاج إلى عمليات معالجة لاحقة [9].
الوضعية السفلية للدوبي
في هذه الوضعية يكون الدوبي تحت خيوط السداء، تعتبر هذه الطريقة أكثر شيوعاً من الوضعية السابقة.

تصنيف الدوبي حسب طريقة تخزين الحياكات
تخزين المعطيات بالكرتون المتصل

في هذا الأسلوب نضع تصميم الحياكة على كرتون من الورق أو على صفائح من البلاستيك تقوم آلة خاصة بتثقيب الكرتون وفق التصميم، يدخل هذا الكرتون إلى نظام الاختيار الذي يحوي على العديد من الإبر حيث تدخل الإبر في الثقوب وتبقى الإبر مكانها في الأماكن التي لا تحوي على ثقوب، وهذا العملية تحدد فيما إذا كانت خيوط السدى في الأعلى أم في الأسفل.
من مساوئ هذا الطريقة صعوبة تغير الحياكة مقارنة بالطريقة الإلكترونية وارتفاع ثمن تبديل الكرتون واهتراء الكرتون نتيجة الاحتكاك مع الإبر. الشكل الجانبي يبين طريقة إدخال الحياكة إلى الدوبي حيث تمثل النقاط الغامقة على الكرتون إبر الاختيار في الدوبي وتكون خيوط السدى فوق خيوط الحدف.
قامت شركة شتوبلي بصناعة أسطوانة مثقبة تخزن عليها الحياكة، يتميز هذا الأسلوب بصغر الحجم وانخفاض الضجيج وطول العمر التشغيلي مقارنة مع الكرتون إلا أنها غالية الثمن مقارنة مع الكرتون.[1]
تخزين الحياكة بواسطة الحاسب
يوصل الدوبي إلى حاسب المنسج الذي يحوي على برنامج تصميم الحياكات، يحوي البرنامج في الأرشيف على حياكات مستخدمة سابقًا وحياكات أساسية وبعد اختيار الحياكة يقوم البرنامج بإرسال الأوامر (النبضات الكهربائية) إلى الدوبي عن طريق كبل ضوئي ثم يقوم المغناطيس الكهربائي بتحديد وضعية الدرأة من خلال آلية ميكانيكية. يتميز هذا الأسلوب بالسرعة والمرونة وإمكانية تصحيح الأخطاء بسهولة وعدد كبير من التصاميم مع إمكانية إجراء محاكاة للحياكة المختارة.[1] يوجد اتفاقيات بين الشركة المصنعة للنول والشركة المصنعة للدوبي تسمى هذه الاتفاقيات ببرتوكولات التخاطب ولذلك إذا كان عندنا دوبي فلن يعمل إلا على المنسج الذي صنع من أجله أو من نفس طراز الشركة.
المصادر
-
ADANUR, Sabit (2001). Handbook of Weaving. CRC Press. صفحة 436. مؤرشف من الأصل في 14 مارس 2020. الوسيط
|CitationClass=تم تجاهله (مساعدة)
- بوابة تصميم