موقد حطب
موقد الحطب ويسمى أيضًا موقد حرق الأخشب هو جهاز التدفئة قادرة على حرق الوقود الخشبي والمستمدة من الخشب وقود الكتلة الحيوية، مثل الكريات الخشب.[1][2][3] عموما الجهاز يتكون من المعادن الصلبة (عادة حديد أو صلب يلقي) أغلقت حجرة النار، قاعدة من الطوب النار والتحكم في الهواء قابل للتعديل. وسيتم ربط الجهاز عن طريق التهوية أنابيب الموقد لمدخنة مناسبة أو المداخن، والتي سوف تملأ مع غازات الاحتراق الساخنة بمجرد اشتعال الوقود. يجب أن تكون المدخنة أو غازات المداخن أكثر سخونة من درجة الحرارة في الخارج لضمان استخلاص غازات الاحتراق من الغرفة النار وحتى المدخنة. صممت العديد من مواقد الحطب بحيث يمكن تحويلها إلى مواقد متعددة الوقود مع إضافة صر.
.png.webp)
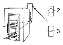
المثبط في المداخن موقد مدخنة (1) يتحكم العرض الجوي التي يجري وضعها مفتوحة (2) أو مغلقة(3).

موقد الكرش في متحف أبالاتشيا.

موقد الحطب كان يستخدم منذ القرن التاسع عشر الميلادي.
أمثلة
Chimenea، وحرق الأخشاب للتدفئة
موقد الخشب استخدامها بوصفها "المبخر" في الهواء الطلق لإنتاج شراب القيقب، ولاية نيويورك
موقد في ماساتشوستس.
انظر أيضًا
مراجع
- Chimney Fires Can Be Prevented, quote: "A common cause of chimney fires is creosote inside the chimney catching fire and burning inside the chimney. Creosote is a by-product of burning that coats the inside of your chimney that needs to be removed during regular annual chimney cleaning by chimney sweeps." نسخة محفوظة 20 ديسمبر 2016 على موقع واي باك مشين.
- "Forest-saving stove programs". Trees, Water & People. مؤرشف من الأصل في 22 أبريل 2012. اطلع عليه بتاريخ March 8, 2012. الوسيط
|CitationClass=تم تجاهله (مساعدة) - Greenberg, Gail (1981). Energy efficient building handbook. Business Communications Co. صفحة 30. ISBN 978-0-89336-283-6. الوسيط
|CitationClass=تم تجاهله (مساعدة)
- بوابة طاقة
موقد حطب في المشاريع الشقيقة
صور وملفات صوتية من كومنز
This article is issued from Wikipedia. The text is licensed under Creative Commons - Attribution - Sharealike. Additional terms may apply for the media files.